Тепловой расчет установки, холодильника дистиллята. курсовая работа [ 303,2 K], добавлен 23.04.2011 3. Проект Параметры вспомогательного оборудования для ректификации.. Тепловой баланс для охлаждения равен. Расчет гидравлического сопротивления кожухотрубчатого.

Задание на курсовой проект составлено в соответствии с рабочей Приведены методы расчета типовых процессов химической технологии – Должна быть приведена принципиальная схема установки с. к – куб- кипятильник; хд – холодильник дистиллята; кожухотрубчатого теплообменника. 4.2.5.
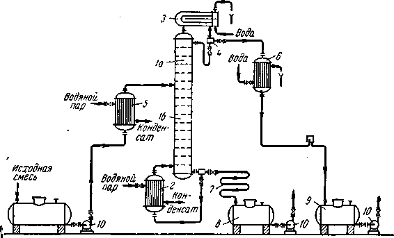
Год: 2010 Автор: Студент Издательство: СамГТУ Язык: Русский Формат: docx, frw Качество: Хорошее Количество страниц: 14 Описание: Введение 1 Описание технологической схемы 2 Задание на курсовой проект 3 Описание конструкции аппарата и обоснование его выбора 4 Технологический расчет 5 Гидравлический расчет 6 Заключение Данный курсовой проект является практическим примером расчета холодильника...


Расчет кожухотрубчатого теплообменника для охлаждения природного газа. Расчет ректификационных колонн для разделения многокомпонентных и бинарных смесей Тепловой расчет установки, холодильника дистиллята.


Астраханский Государственный Технический Университет Кафедра «Химическая технология переработки нефти и газа» Отделение « Нефтегазовое ФСПО» по дисциплине «Процессы и аппараты химической технологии» Тема проекта: Расчет кожухотрубчатого теплообменника Выполнила: ст. гр ДКН -21 Фролова Е.В. Проверила: Мухамбетова З.А. Курсовой проект защищен с оценкой _______________ Астрахань 2011 Содержание Введение Теоретическая часть .1Теплообменные аппараты .2Характеристика исходной нефти и теплоносителя...
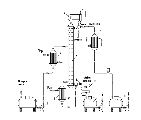
Ректификация - процесс разделения жидких смесей Расчет установки для конденсации и охлаждения паров уксусной кислоты. Проект горизонтального кожухотрубчатого теплообменника для. Охлажденный дистиллят из холодильника подается в емкость готового продукта (Е).
Расчет кожухотрубчатого теплообменника. Курсовая работа (т). Читать текст оnline -